Noticias de la industria
Inicio / Noticias / Noticias de la industria / ¿Por qué un caudalímetro Vortex se vuelve inestable (o incluso deja de funcionar) después de la instalación?
Ponerse en contacto

Si necesita ayuda, no dude en contactarnos

¿Por qué un caudalímetro Vortex se vuelve inestable (o incluso deja de funcionar) después de la instalación?


¿Alguna vez ha experimentado un caudalímetro de vórtice que muestra poca precisión, grandes fluctuaciones de señal o incluso una pérdida total de señal después de la instalación?

En muchos casos, la causa principal no es el instrumento en sí, sino más bien prácticas de instalación y dimensionamiento inadecuados. Los caudalímetros Vórtice son muy sensibles al perfil de velocidad, al régimen de flujo y a la configuración de las tuberías. Pequeñas desviaciones en estos detalles pueden provocar errores de medición importantes.

Este artículo explica los principios de ingeniería clave detrás del dimensionamiento adecuado, la selección de reductores y los requisitos de tuberías rectas, según los estándares de la industria y la investigación experimental verificada.


1.Dimensionamiento del metro para una relación de cobertura amplia: por qué a menudo es necesaria la reducción del diámetro

Para lograr un amplio ratio de cobertura y garantizar una intensidad de señal suficiente a caudales bajos, es una práctica de ingeniería común Reducir el diámetro del caudalímetro en relación con la tubería. para aumentar la velocidad del fluido.

Para caudalímetros dependientes del perfil de velocidad —tales como:

  • Caudalímetros de vórtice
  • Caudalímetros de remolino (precesión de vórtice)
  • Caudalímetros electromagnéticos

Esta coincidencia de diámetro generalmente se logra usando reductores concéntricos .


Principio general de dimensionamiento

  • En la mayoría de las aplicaciones, el El diámetro nominal del caudalímetro debe ser igual o menor que el diámetro de la tubería. .
  • Para vortex flowmeters, the calculated meter size is often uno o dos tamaños nominales más pequeños que el oleoducto.

Ejemplo

  • Tubería: 8" (DN200)
  • Caudalímetro Vortex: 4" (DN100)

En casos especiales, como transferencia de custodia de aceite o medición de nitrógeno de bajo flujo —Se pueden aplicar reducciones aún mayores para satisfacer requisitos extremos de cobertura.

Sin embargo, el sobredimensionamiento sigue siendo un problema frecuente. En varios proyectos se seleccionaron caudalímetros Vortex. demasiado grande , resultando en:

  • Velocidad insuficiente durante el funcionamiento normal
  • Funcionamiento fuera del rango de medición efectivo
  • Grave inestabilidad de la señal después de la puesta en servicio

Nota del caso:

Para nitrogen service with a 4" pipeline selected for start-up demand, installing a 1/2" vortex flowmeter represents an extreme reduction. Both the pipeline sizing logic and the meter selection require careful revaluation.


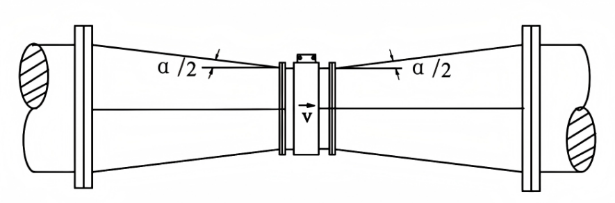
2.Selección de reductores: utilice siempre reductores concéntricos

Siempre que se requiera una reducción o expansión del diámetro de la tubería en instalaciones de medidores de flujo de vórtice:

Se deben utilizar reductores concéntricos.

Los reductores excéntricos crean perfiles de velocidad asimétricos que degradan significativamente la precisión de la medición en instrumentos sensibles a la velocidad.


3.Requisitos de tuberías rectas para instalaciones de diámetro reducido

Requisitos de geometría del reductor


Para minimizar la distorsión del flujo:

  • el El ángulo del cono α del reductor no debe exceder los 15°.
  • Bajo esta condición, el reductor se puede tratar como parte de la longitud de la tubería recta.

ambos Los reductores aguas arriba y aguas abajo deben ser reductores graduales y concéntricos.


4.Requisitos mínimos de longitud recta aguas arriba (valores típicos)



Tipo de perturbación aguas arriba

Longitud recta general requerida

Sin molestias

15D

reductor concéntrico

15D

expansor concéntrico

18D

Codo simple de 90°

20D

Dos codos de 90° (mismo plano)

25D

Dos codos de 90° (diferentes planos)

40D

válvula

50D

D = diámetro interno de la tubería


5.Condiciones generales de instalación para caudalímetros Vortex


Un caudalímetro de vórtice instalado correctamente debe cumplir las siguientes condiciones:

a) Instalado horizontal o verticalmente (para líquidos: dirección de flujo de abajo hacia arriba) en una tubería que coincida con el diámetro nominal

b) Longitudes de tubería recta aguas arriba y aguas abajo adecuadas y sin obstrucciones según lo especificado

c) Alineamiento coaxial con el ducto; Las juntas no deben interferir en el flujo.

d) Las tuberías de varias secciones deben permanecer rectas con una desalineación mínima del eje.

e) Medición de temperatura:

  • Preferiblemente mediante termopozo incorporado
  • De lo contrario, localice el sensor 2–5D aguas abajo

f) Medición de presión:

  • Preferiblemente mediante toma de presión incorporada
  • De lo contrario, ubique el toque 2–7D aguas abajo

g) No hay válvulas ni líneas de derivación dentro de las secciones de tubería recta.

h) No hay válvulas de control de flujo aguas arriba del medidor.

i) Si hay burbujas de gas o impurezas, instale separadores o filtros. aguas arriba de la recta

6.Longitudes típicas de tubería recta (medición con conducto cerrado)

Configuración ascendente

Longitud aguas arriba

Longitud aguas abajo

reductor concéntrico fully open gate valve

≥15D

≥5D

Codo simple de 90°

≥20D

≥5D

Dos codos de 90° (mismo plano)

≥25D

≥5D

Dos codos de 90° (diferentes planos)

≥40D

≥5D


7.Consideraciones sobre la ubicación de la válvula y el flujo bifásico

  • Evite válvulas o bypass cerca del caudalímetro.
  • Las válvulas reductoras de presión pueden causar cambios de fase aguas abajo
  • Se debe evitar el flujo bifásico (gas en líquido o líquido en gas).
  • Utilice separadores de gas o filtros aguas arriba si es necesario


8.Por qué se deben evitar los reductores excéntricos

Los caudalímetros másicos Coriolis y los medidores de desplazamiento positivo son independientes del perfil de velocidad.

Todos los demás caudalímetros dependen del perfil de velocidad y requieren longitudes de tubería rectas aguas arriba y aguas abajo.

Orientación clave de la industria:

  • Los requisitos de instalación para dispositivos de presión diferencial deben cumplir con ISO 5167-1
  • Para other flowmeters, manufacturer installation guidelines must be strictly followed
  • Los reductores excéntricos alteran gravemente los perfiles de velocidad y no debe usarse cerca de medidores que dependan de la velocidad


9.Efecto de los reductores concéntricos sobre el perfil de velocidad (evidencia experimental)

Estudios experimentales realizados por TNO y Delft Hidráulica usando aire y agua demuestre:

  • Un reductor concéntrico con una relación de diámetro. D_metro / D_tubería ≈ 0,44 puede convertir un perfil de velocidad asimétrico en uno casi simétrico (asimetría < 2%)
  • el downstream velocity profile resembles a perfil de velocidad tipo enchufe (PTVP)
  • en 5D aguas abajo , el perfil permanece estable en:
    Re = 50 000–250 000 (aire)
    Re = 20 000–500 000 (agua)
  • Reductores concéntricos no eliminar el remolino , especialmente el causado por curvaturas espaciales
  • Los dispositivos antirremolinos pueden requerir longitud ≥6D , dependiendo del tono del remolino


Resumen de hallazgos

  • Reductores concéntricos significantly improve velocity symmetry
  • ely do not remove swirl
  • Sólo los reductores concéntricos proporcionan este beneficio.
  • Los reductores excéntricos introducen una severa distorsión de la velocidad.


10.Requisitos de tuberías rectas para instalaciones de diámetro reducido

(D_metro / D_tubería ≤ 0,7)

Medidor tipo “A”

Aguas arriba “B”

Aguas abajo “C”

Longitud adicional para válvula de control aguas abajo

Vortex

5 5 25

remolino

3 1 25

Coriolis

N/A

N/A

30

ultrasónico

5 5

Consulte al fabricante

elrma

5 5 N/A

electromagnético

5 5

N/A


Conclusión final de ingeniería

Cuando un caudalímetro de vórtice tiene un rendimiento deficiente, la causa rara vez es la "calidad del instrumento".

Más a menudo, es un problema a nivel del sistema involucrando:

  • Selección de diámetro incorrecta
  • Tipo de reductor incorrecto
  • Longitud de tubería recta insuficiente
  • Perfil de velocidad distorsionado

Correct sizing reductores concéntricos disciplined piping design son la base de una medición estable y precisa del flujo de vórtice.

Si diseña el campo de flujo correctamente, el instrumento hará su trabajo.